Description
Bad Boy Buggy Battery Watering System 48 Volt Classic
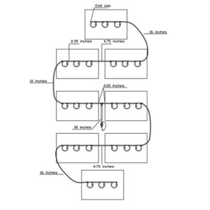
This On-Board Golf Cart Battery Watering System is specifically designed for use with flooded batteries. AKA ( Traditional Lead Acid Batteries) This system is compatible with most battery brands. Crown, Deka, Duracell, Trojan, US Battery to name the big ones…
After installing your system you will realize other cost benefits including extended battery life; increased performance. Being able to fill your batteries without removing the cell caps will allow you to avoid things like battery acid burns, ruined clothing, and breathing noxious fumes. You can finally relax and rest assured with properly watered batteries the battery lasts longer and performs better.
If you have any questions about this golf cart battery watering system just give us a call! ย Pete team is here to help you. Callย ย (772) 247-GOLFย
We offer completeย kits for all popular golf cart brands. ACG, Bad Boy Buggies, Club Car, Columbia-Par Car,ย Cushman, Ezgo, Gem, Harley Davidson, Polaris, Stealth, Tomberlin, TY Tong, Yamaha and many more…. Custom kits are also available based on the specific battery bank configuration.ย ย View popular kits here.
Additional information
| Weight | 1.8 lbs |
|---|---|
| Dimensions | 12 × 12 × 8 in |
Q & A
Cushman Hauler Pro 72V (8x 6V) Golf Cart Battery Watering System












