Description
Club Car Golf Cart Battery Watering System 36 Volt
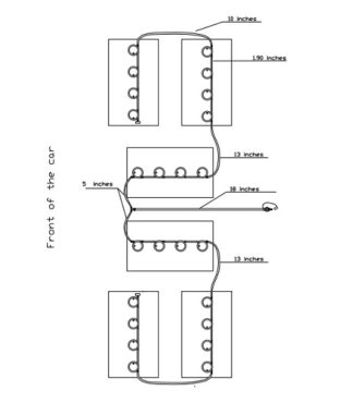
Save time and money by taking care of your golf cart batteries. Basic maintenance requires you to charge and check your batteries water levels at least once a month with regular use. More frequently with increased usage. Proper water levels are required in all lead acid batteries to maintain proper performance. Most new golf cart owners don’t even know they need to check or add water to their carts batteries. Everyone I do know that knows hates to take the time to do the job. Plus it can get messy if you do not know exactly what you are doing. This is where the battery watering system comes in… a safe , effective and efficient solution to proper battery maintenance. 
This On-Board Golf Cart Battery Watering System is specifically designed for use with flooded batteries. AKA ( Traditional Lead Acid Batteries) This system is compatible with most battery brands. Crown, Deka, Duracell, Trojan, US Battery to name the big ones…
After installing your system you will realize other cost benefits including extended battery life; increased performance. Being able to fill your batteries without removing the cell caps will allow you to avoid things like battery acid burns, ruined clothing, and breathing noxious fumes. You can finally relax and rest assured with properly watered batteries the battery lasts longer and performs better.
If you have any questions about this golf cart battery watering system just give us a call! ย Pete team is here to help you. Callย ย (772) 247-GOLFย
We offer completeย kits for all popular golf cart brands. ACG, Bad Boy Buggies, Club Car, Columbia-Par Car,ย Cushman, Ezgo, Gem, Harley Davidson, Polaris, Stealth, Tomberlin, TY Tong, Yamaha and many more…. Custom kits are also available based on the specific battery bank configuration.ย ย View popular kits here.










