Description
This Club Car Golf Cart Battery Watering System is designed specifically to work with your Precedent or DS model golf cart. All New BWT Battery watering technologies Golf Cart Battery Watering System. Designed specifically for your newer style 48 volt golf cart. Check out the product photos for possible configuration of this kit. It will also work on other make and model golf carts.
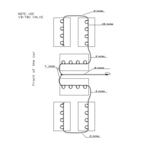
If you have 6x 8 volt batteries to equal 48v. (Common set-up in all newer style Club Cars Carts.)
Quick and easy battery care
Save time and money by taking care of your golf cart batteries. With regular use you should check your batteries once a month for proper water (Electrolyte) levels. Proper water levels are required in all lead acid batteries to maintain proper performance. But everyone I know hates to take two hours to do the job. Plus it is kinda messy and you can get battery acid everywhere eventually if you are adding to much.ย Curious how easy it is to install a new battery watering system in your golf cart? Here is Pete giving you the How toInstalling Your New BWT Battery Watering System.
So Pete says … Get a Golf Cart Battery Watering System and forget about all the wasted time and holes in your shorts or socks.. Worst yet the garage floor… With a one point battery watering system you fill in 5-10 minutes – Perfect every time! Now you can even keep tabs on individual cells and monitor electrolyte levels at a glance with the new BWT quick look indicators on each individual valve.
Find your kit
We offer completeย kits for all popular golf cart brands. Find the system for your golf cart here.

Safe
Multiple safety features make our valve the safest watering system on the market.
Flexible
The Battery Watering Technologies systems work on nearly every make and model of battery on the market.
Easy To Use
Water flows through a single connection filling each battery set accurately, eliminating all the guesswork. Our innovative clip-in valves make installation fast and easy.


This kit includes everything required to connect your golf cart batteries to a one point watering system. (Hand Pump Included)
Save Time and Money with a New Golf Cart Battery Watering System
The On-Board Golf Cart Battery Watering System is specifically designed for use with golf carts. Though the Battery Watering system is not limited to just golf carts. Any golf cart style battery (Traditional Lead Acid Batteries) also found in boats and RVs, Solar systems, electric floorย sweepers and floor scrubbers and even pallet jacks. Based on the same technology as our industrial line of battery watering systems andย valves this system is compatible with most battery brands. Crown, Deka, Trojan, US Battery to name the big ones…
The Pro-Fillย on-board battery wateringย system works by replacing the battery’sย existing vent caps with valves that are interconnected with tubing, allowing the user to fill all cells of the battery from a single remote location. Snap on/snap off water connections turn the often ignored task of watering batteries into a quick, simple task takingย 30 seconds or less! Each valve independently shuts off water flow to the cell when the proper electrolyte level is reached, allowing the batteries to be filled perfectly every time without having to look at the batteries.
After installing your system you will realize other cost benefits including extended battery life; increased performance. Being able to fill your batteries without removing the cell caps will allow you to avoid things like battery acid burns, ruined clothing, and breathing noxious fumes. You can finally relax and rest assured with properly watered batteries the battery lasts longer and performs better. The average person does not even know they need to check or fill their golf cart batteries with water til it is to late and they need to buy new batteries. Once they do know they still don’t really know how to do it or how much water should be added and when to do it. You can learn more about proper battery maintenance here. One of the biggest problems is overfilling a battery. This results in loss of acid or technically speaking changes the specific gravity of the electrolyte(acid) in the battery and once this occurs you can damage the battery plates when charging. Either way, it equals loss of capacity and life expectancy.
Complete Kits
We offer completeย kits for all popular golf cart brands. ACG, Bad Boy Buggies, Club Car, Columbia-Par Car,ย Cushman, Ezgo, Gem, Harley Davidson, Polaris, Stealth, Tomberlin, TY Tong, Yamaha and many moreโฆ. Custom kits are also available based on the specific battery bank configuration.
Learn more and find the correct kit for your golf cart here.
Any questions?
If you have any questions about this golf cart battery watering system or need help determining the one that you will need just get in touch. Pete’s team is here to help you. Email sa***@************ts.com














